欢迎进入河南神玖天航新材料股份有限公司!
石英纤维所用的原料是高纯二氧化硅或天然石英晶体,其熔点很高(可达1700多℃)。因此,石英纤维制备方法具有特殊性,目前主要包括直接熔融拉丝法和棒拉丝法两种方法,这里以棒拉丝法为例,简要介绍其制备工艺流程和实验设备。

石英纤维的棒拉丝法制备工艺流程
首先将原料水晶或纯净的二氧化硅粉料放入真空加压电阻炉内,熔融后拉制成细棒(直径2mm左右),拉丝时,首先在石英纤维上涂上一层浸润剂,而后放置于电热或氢氧火焰环境中进行拉丝操作,由此可以获得单丝直径约8μm的原丝,*后,将纤维原丝进行合股加捻,从而获得纤维纱或纤维织物。
其中,拉丝的具体过程可简述如下:液态的高温石英由石英棒底端滴出,拉丝机则保持恒定的转动速率,从而将纤维牵伸和固化,形成连续纤维。石英棒下部形成被称为“丝根”的新月形细丝。需要指出的是,纤维单丝在被拉出之后的过程中温度会有大幅的下降,该效应对产品性能会产生一些影响。

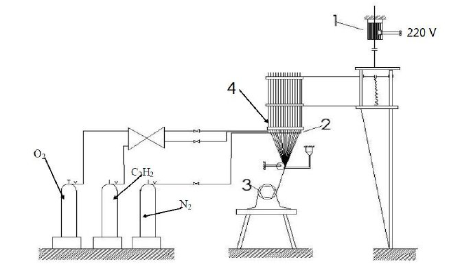
棒拉丝法(气体加热)石英纤维生产设备示意图
1-送棒机;2-气体加热燃烧装置;3-拉丝机;4-石英棒
由拉丝机拉出的那些纤维具有较高的强度,但其抗腐蚀性差,一旦暴露于空气中,在很短的时间内即可能被腐蚀,因而给其收集带来了困难。正是因为这个原因,在实际工艺中需要在纤维拉丝过程中给纤维表面涂抹浸润剂,以起到抑制纤维断丝、飞丝的作用,进而有助于确保拉丝作业正常进行。
石英纤维的浸润剂一般可分为两大类,即用于制备纺织纱的淀粉型浸润剂和制备增强型制品的增强型浸润剂。浸润剂通常为水乳液,含水量在80%以上。需要说明的是,石英纤维原丝丝饼含水量可达10%左右,这些水分在工艺中往往是通过时长约为8~12h的远红外烘干来去除,以避免其对制备工艺带来一些不良的影响。